陕西省重点新闻网站  三秦都市报官网

西安市中考城六区省级标准化高中普通高中进行征集志愿

8所高中征集志愿招生计划总数为1377人

西安市中考城六区省级标准化高中普通高中进行征集志愿

8所高中征集志愿招生计划总数为1377人

2025-08-05 15:05:41
分享到:

三秦都市报-三秦网讯(记者 张彦刚)8月5日,记者从西安市教育局了解到,2025年西安市中考鉴于8所在城六区招生的省级标准化高中、普通高中未完成招生计划,西安市教育局决定征集志愿补录。

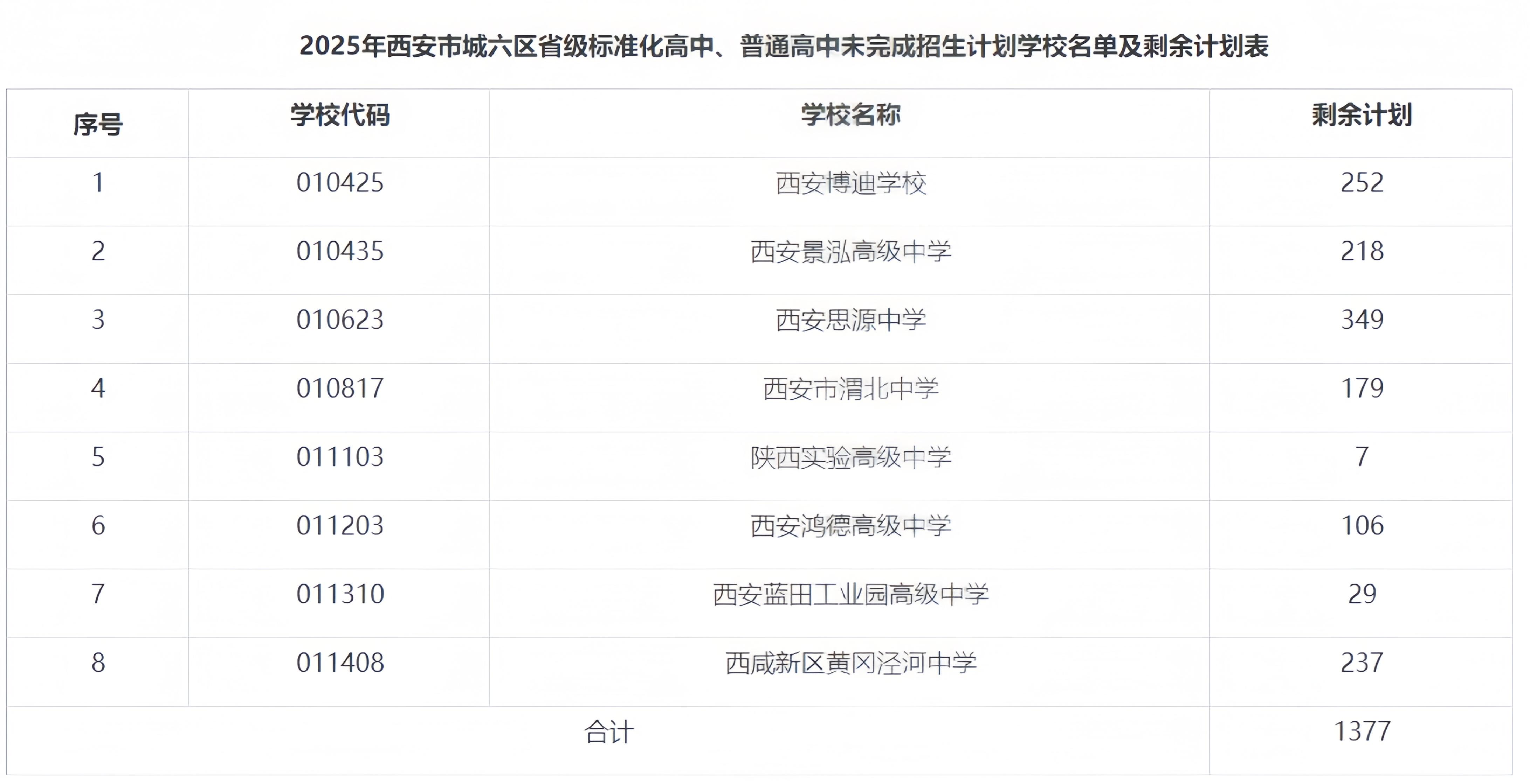
据悉,本次征集志愿对象是:西安市城六区中考成绩611分及以上,未被任何学校录取的考生。征集志愿填报时间为2025年8月6日8时至18时。填报范围为8所未完成招生计划的省级标准化高中、普通高中学校。需要征集志愿8所学校合计剩余计划1377人,其中西安博迪学校剩余计划252人,西安景泓高级中学剩余计划218人,西安思源中学剩余计划349人,西安市渭北中学剩余计划179人,陕西实验高级中学剩余计划7人,西安鸿德高级中学剩余计划106人,西安蓝田工业园高级中学剩余计划29人,西咸新区黄冈泾河中学剩余计划237人。

征集志愿按照第二批次省级标准化高中(含普通高中)志愿填报要求,考生可选报4所未完成招生计划学校志愿且须至少填报2所学校,方能提交志愿。征集志愿实行网上填报,考生在规定时间内登录西安市教育局官方网站,根据本人实际情况及相关政策要求在网上填报。

考生填报的征集志愿为平行志愿,所有学校录取同时进行。征集志愿补录依据考生综合素质评价结果、学业水平考试成绩、学校剩余招生计划、考生本人志愿,按照第二批次省级标准化高中和普通高中统招生录取程序、录取规则进行。8月7日12时,考生可登录西安市教育局官方网站查询征集志愿补录录取结果。

(编辑:李溢涵)

(责编:李宗华)